这是FGJ认知圈自写和自用的独家插件,融合了文章页面的访问量(查看数)统计、爬虫蜘蛛的访问统计,以及定向链接的查询和清除功能。
主要用途:清晰明了的知晓你网站的近期哪些内容访问数据较高,可以针对性的做SEO优化(如内链和锚文本)。其他的也不做过多解释,懂的自然懂,不懂的也懒得解释。
兼容说明:对WP和PHP版本无要求,但建议用较新版本。另外不会太频繁的更新,目前的功能就够用了,勿催更新。
初始界面:
WordPress文章访问量和爬虫蜘蛛访问量统计插件后台功能界面
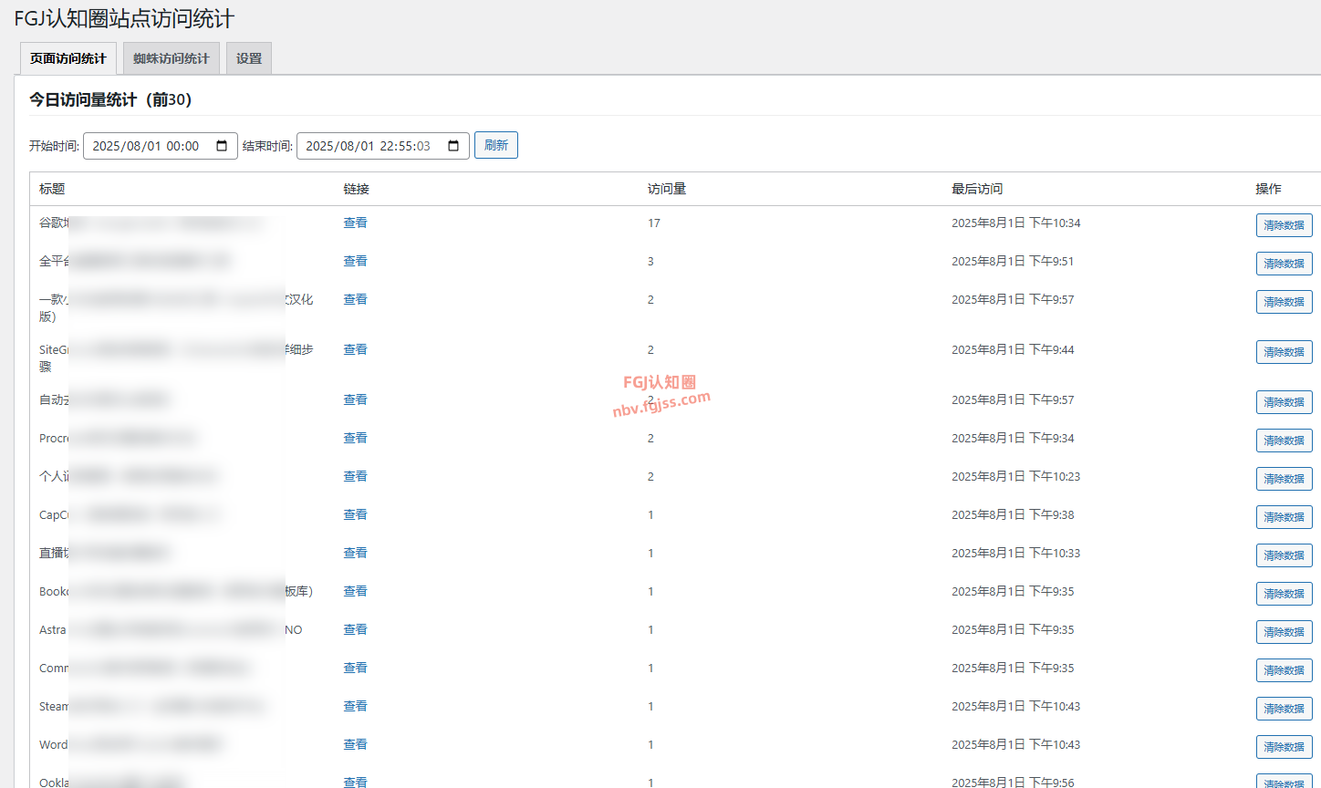
一、页面访问统计功能(默认显示前30篇)
页面统计下方查询和清除功能:
二、蜘蛛访问统计功能(右侧默认显示蜘蛛爬取的10个文章标题):
这个只是做参考,默认只会显示十个,想查看每个时间段的蜘蛛爬取的内容,按需搜索查询就行。
三、缓存数据定期清除功能:
声明:本站部分资源来源于网络,仅供学习研究,请于下载后的24h内自行删除,涵盖官方测试版源码和部分破解资源,正式商用请购买正版。同时禁止复制、盗用、采集、发布本站内容到任何网站、书籍等各类媒体平台。如若内容侵犯了原著者的合法权益,请携带相关版权文件联系我们进行下架或删除。





评论0